P3442-CYLINDER 6 DEACTIVATION CONTROL PERFORMANCE





For a complete wiring diagram Refer to Section 8W.

Theory of Operation


When all criteria has been met, power is supplied to each MDS Solenoid when the engine is making a transition from 8 cylinder mode to 4 cylinder mode. By actuating the solenoid, oil pressure is raised to the pair of lifters that coincide with each particular solenoid. The oil pressure pushes in the locking pins that allows the lifter to collapse, decoupling the valves and camshaft.


  • When Monitored:

    Transition from 8 to 4 cylinder mode.

  • Set Condition:

    The MDS fails to engage for cylinder 6. One trip fault.


Possible Causes
 
(K453) MDS SOLENOID NO.6 CONTROL SHORT TO GROUND
 
(K453) MDS SOLENOID NO.6 CONTROL OPEN
 
(Z42) GROUND CIRCUIT OPEN
 
INSUFFICIENT OIL PRESSURE ACTING ON THE LIFTER LOCKING PINS
 
OIL PASSAGES RESTRICTED
 
LIFTER
 
MDS SOLENOID
 
PCM
 


Always perform the Pre-Diagnostic Troubleshooting procedure before proceeding. (Refer to 9 - ENGINE - DIAGNOSIS AND TESTING).



Diagnostic Test

1.ACTIVE DTC




Is the DTC Active at this time?

Yes
  • Go To 2


No

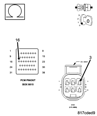
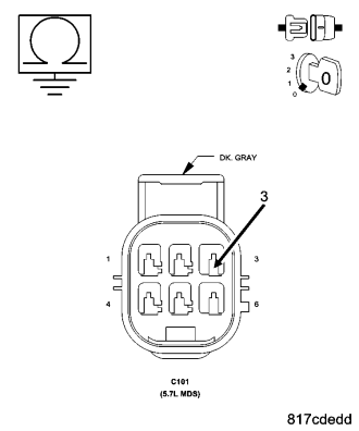
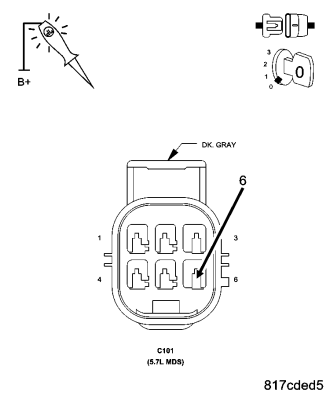
2.CHECKING PCM CONTROL SIDE FOR THE MDS SOLENOID (C112)









Does the 12-volt test light flash on and off?

Yes
  • Go To 3


No
  • Go To 4

3.MDS SOLENOID RESISTANCE





NOTE: It is important to follow the below temp/resistance values to ensure an accurate reading.



MDS SOLENOID RESISTANCE
 
TEMPERATURE VALUE ± -7° C (20° F)
 
RESISTANCE (OHMS) ± .25 ohms
 
-18° C (0° F)
 
8.8 ohms
 
0° C (32° F)
 
9.5 ohms
 
20° C (68° F)
 
10.3 ohms
 
38° C (100° F)
 
11 ohms
 
66° C (150° F)
 
12.2 ohms
 
93° C (200° F)
 
13.4 ohms
 
121° C (250° F)
 
14.4 ohms
 
149° C (300° F)
 
15.6 ohms
 



Is the resistance within an acceptable range?

Yes
  • Go To 7


No
  • Visually and Physically inspect the wiring harness between the C112 connector and the MDS Solenoid connector. Repair as necessary. If OK, replace the MDS Solenoid in accordance with the Service Information.

4.(Z42) GROUND CIRCUIT OPEN (PCM SIDE)






Does the test light illuminate brightly?

Yes
  • Go To 5


No

5.(K453) MDS SOLENOID NO.6 CONTROL CIRCUIT SHORTED TO GROUND (PCM SIDE)







Is the resistance below 100 ohms?

Yes
  • Repair the short to ground in the (K453) MDS Solenoid No.6 Control circuit between the PCM harness connector and the C112 harness connector.
  • Perform the POWERTRAIN VERIFICATION TEST. (Refer to 9 - ENGINE - STANDARD PROCEDURE)


No
  • Go To 6

6.(K453) MDS SOLENOID NO.6 CONTROL CIRCUIT OPEN (PCM SIDE)


CAUTION: Do not probe the PCM harness connectors. Probing the PCM harness connectors will damage the PCM terminals resulting in poor terminal to pin connection. Install Miller Special Tool #8815 to perform diagnosis.




Is the resistance below 5.0 ohms?

Yes


No
  • Repair the open in the (K453) MDS Solenoid No.6 Control circuit between the C112 harness connector and the PCM harness connector.
  • Perform the POWERTRAIN VERIFICATION TEST. (Refer to 9 - ENGINE - STANDARD PROCEDURE)

7.MDS SOLENOID 6









Can you feel and hear the Solenoid Actuating?

Yes
  • Go To 8


No
  • Remove the Solenoid (1) and check for any debris that may be blocking the oil passages (3) to the Solenoid. If the passages are clogged, clean the passages and replace the MDS Solenoid 6. If the passages are not clogged with debris, replace the MDS Solenoid 6.

8.OIL PASSAGES RESTRICTED







Are the passages blocked?

Yes
  • Clean the oil passages as necessary. If the entire engine is restricted disassembly of the entire engine block may be necessary.


No
  • Replace both sets of lifters if no other possible causes remain.